Views: 3 Author: Site Editor Publish Time: 2022-11-04 Origin: Site
In linear guides and ball screws,the bearing ball or roller may be driven on flat(flat)raceways such as non-recirculating linear roller bearings,or on curved raceways,such as ball screws and special-shaped guides.When a ball or roller is driven on a flat raceway,the contact between the roller and the raceway will be very close to a point(for the ball)or a line(for the roller).However,when a ball or roller is driven in a curved raceway,the rolling body makes contact with the raceway at multiple locations and produces small contact areas.
The position and shape of these contact areas are determined by the consistency between the rolling body and the raceway.Ball consistency is the dimensional relationship between raceway radius and ball(or roller)diameter.A"perfect" fit between the ball and the raceway would be a consistency of 0.5,meaning that the radius of the raceway is 1/2 the diameter of the ball.
f = conformity
r =Raceway radius(mm)
D =Ball diameter(mm)
While a consistency of 0.5 provides the best carrying capacity,it causes elevation slip(slip)of the ball,so linear guides and screws are usually designed for ball consistency between 0.51 and 0.54.In a ball screw assembly,the raceway on the screw shaft is of a different radius than the raceway in the ball nut housing.Therefore,the ball screw has two compliance measures:

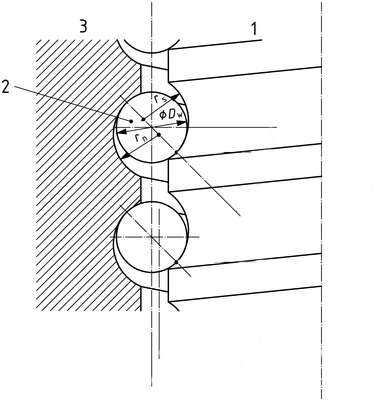
1– ball screw shaft
2– ball
3– ball nut
frs = conformity between ball and screw shaft
rs = radius of screw shaft raceway(mm)
Dw = diameter of ball(mm)

frn = conformity between ball and nut housing
rn = radius of nut housing raceway(mm)
Dw = diameter of ball(mm)
The consistency is closely related to the Hertz contact force of the ball(or roller)under load,and the ball consistency is one of the variables on which the Lundberg palm bearing life theory is based.Ball consistency is also one of the factors leading to the development of irregular guide rails.The first widely used circular bearing was the linear ball bearing on a circular shaft.It was found that bearings could withstand higher loads(and transmitted torque)by machining conformal grooves along the length of the shaft.Therefore, a spherical spline is created.
The next step in the development of circular linear guide is to cancel the circular axis and use square contour guide for easy support and installation.So now we have shaped guides which use conformal grooves(raceways)on each side of the track to achieve high load capacity and high rigidity.
Linear ball bearings traveling on circular shafts will experience point contact between the ball and the shaft,that is,they are unqualified.However,the bearing plate in the bearing box is usually fluted,so the ball is in line with the bearing plate.This significantly improves load capacity and bearing life.
Consistency is also an important factor in the effectiveness of lubrication.When the ball or roller is in line with its raceway,the resulting contact area is small,resulting in very high contact pressure.This high contact pressure increases the viscosity of the lubrication,which improves the ability of the lubricant to support the load without being squeezed out of the small contact zone.Also,because of the relatively large contact area compared to point or line contact,conformal bearings experience less deflection than bearings that run on a flat surface with no(or little) consistency.

The higher the consistency between the rolling body and the raceway,the lower the deflection under a given load.
https://www.autolinearmotion.com/linear-guideways.html
https://www.autolinearmotion.com/ball-screws.html